企查查网站信息显示,济南一建集团有限公司6月20日新增11项被执行人信息,涉及德州齐河县金泰恒建筑机械租赁有限公司与孟宪荣、济南一建集团有限公司、马远征租赁合同纠纷的案件。
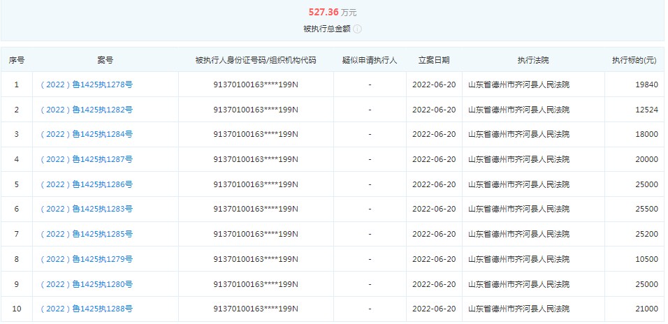
6月20日,济南一建集团新增(2022)鲁1425执1278号、(2022)鲁1425执1282号等11项被执行人信息,执行标的共计217万余元,执行法院为山东省德州市齐河县人民法院。经查询,济南一建集团有限公司的被执行人信息多达170多项。
资料显示,济南一建集团有限公司成立于1978年1月1日注册地位于济南市历城区工业北路295号,法定代表人为孙光文。经营范围包括一般项目:园林绿化工程施工;对外承包工程;物业管理等。(依法须经批准的项目,经相关部门批准后方可开展经营活动,具体经营项目以相关部门批准文件或许可证件为准)济南一建集团有限公司对外投资31家公司,具有44处分支机构。(来源:一点资讯山东)
