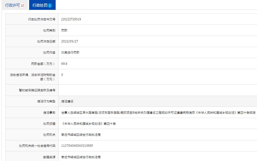
公开信息显示,枣庄市峄都房地产开发有限公司因涉嫌违法建设遭到行政处罚。
据文号[2022]TS0019,枣庄市峄都房地产开发有限公司在峄城区承水路南侧,沿河东路东侧侧,棚改项目B地块未办理建设工程规划许可证建建筑物违反《中华人民共和国城乡规划法》第四十条规定,属于违法建设行为,依据有关规定,枣庄市峄城区综合行政执法局决定对当事人处以罚款69.6万元。
项目公示图
资料显示,枣庄市峄都房地产开发有限公司成立于2010.03.23,注册地位于枣庄市峄城区承水中路91号,法定代表人为田家涛。经营范围包括许可项目:房地产开发经营;住宅室内装饰装修等。(依法须经批准的项目,经相关部门批准后方可开展经营活动,具体经营项目以相关部门批准文件或许可证件为准)枣庄市峄都房地产开发有限公司对外投资2家公司。
(来源:一点资讯山东)
